摒棄傳統!蘋果全新觸摸手勢控制耳機專利曝光
發布時間:
編輯:
據外媒報道,近日蘋果公司的一項獨特的耳機觸控手勢控制方案曝光,該專利中的蘋果耳機并沒有采用傳統的功能按鈕。

Apple Beats耳機
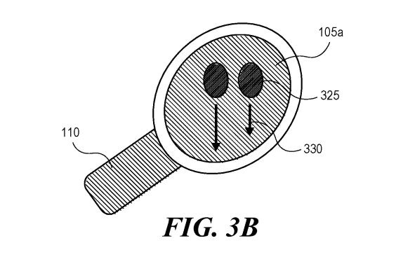
在美國專利商標局周二發布的一項專利中涉及到一項“耳機旋轉檢測”方案,該方案可解決用戶實際佩戴耳機方式的問題。用戶會有多種佩戴耳機的方式:比如用戶為方便起見會將耳機頭帶向前或向后移動,將耳機掛在脖子上等。蘋果的這項解決方案是確定用戶耳朵位置,然后確定耳機的方向。耳罩外部除了配備有預期觸摸面板和內部的控制電路之外還有多個傳感器用于以不同方式探測耳朵而位置。

此外,耳機的耳罩內部還覆蓋有電容式接近傳感器,它們會檢測耳機相對于用戶耳朵的位置并調整其對觸摸手勢的影響來讓用戶的耳機佩戴體驗更佳。蘋果還可以加入諸如光學傳感器和結構光傳感器等,它們也可以有效執行類似的功能。
這項專利的發明者為Brooke nney和Jonathan terson。Bunney是蘋果的硬件系統集成商,他之前便獲得了一些與耳機方向有關的專利。彼得森(Peterson)曾在蘋果擔任硬件工程師,現在在Facebook Reality Labs工作,他曾在音頻產品硬件團隊中工作。

不知道看到這里,你對于這種全新模式的耳機有什么想法?
下一篇 :
電競游戲手機-紅魔6游戲評測




